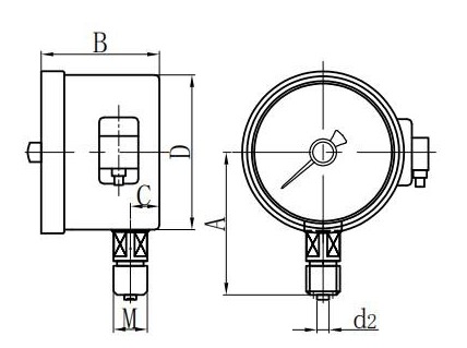
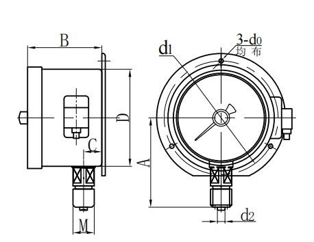
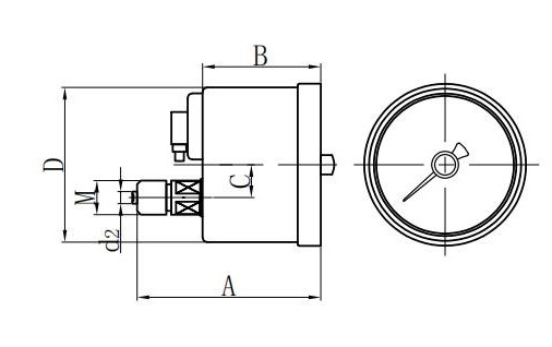
◆ 모델 : YXD100 YXD150
◆ 사용 : 이러한 종류의 기기는 전기 접촉 압력 게이지를 대체하고, 전기 접촉 압력 게이지 표시의 장점을 유지합니다. 조정이 쉽고 조정하기 쉬우 며 기기는 근본적인 개선을 만들었습니다. 정확도, 우수한 스위칭 특성. 석유, 화학 산업, 야금, 원자력 기술 및 빈번한 전환 과정에서 널리 사용됩니다.
이 기기는 폭발 위험, 비 결정화, 비 정리 및 구리 및 구리 합금에 대한 비유 성 영향없이 액체, 가스 또는 증기의 압력의 안정적이고 신뢰할 수있는 측정 및 제어에 적합합니다.
◆ 충격 방지 유형 압력 게이지를 만들 필요가 있다면 글리세린 또는 실리콘 오일로 채울 수 있습니다.





















